Game&Watch Patents
If you invent something, you have to protect it...
A search in databases for patents shows, that Nintendo did claim a few hundred of them. Many are from the inventor of Game&Watch, Gunpei Yokoi. Most interesting are those patents, which have to do with Game &Watch.
Patent: Timepiece apparatus having a game function
Patent No.: 4438926, June 20th 1980
Inventor: Gunpei Yokoi
Download as PDF (2'103 KB)

The first time Game&Watch was announced for a patent: Ball AC-01. The patent describes a Timepiece apparatus having a game function. Later on another patent was announced, Electronic toy having a game function (Download as PDF, 1'694 KB).


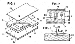
Patent: Liquid crystal display unit
Patent No.: 4398804, July 18th 1980
Inventor: Gunpei Yokoi
Download as PDF (579 KB)
The LCD was invented and patented as well...!

Patent: Figure displaying game apparatus
Patent No.: 4415153, June 15th 1981
Inventor: Gunpei Yokoi
Download as PDF (1'818 KB)
It seems to me, that this patent is a follow up for patent No. 4438926.

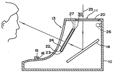
Patent: Display
Patent No.: 4403216,
April 22nd 1981
Inventor: Gunpei Yokoi
Download as PDF (1'008 KB)
A very interesting fact here is, that this patent dated 1981 allready contains drawings of a Table Top game. Did Nintendo plan to manufacture TT's at this time? Or was it just an idea or a possible variation? The first Table Ttop game (Donkey Kong Junior CJ-71) was released on April 28th 1983, that was two years later...!
Patent: Timepiece apparatus having a game function
Patent No.: 4424967, December 10th 1981
Inventor: Gunpei Yokoi
Download as PDF (1'828 KB)
Was the G&W game invented again here?
Patent: Handheld game apparatus
Patent No.: 4542903,
December 22nd 1982
Inventor: Gunpei Yokoi, Satoru Okada
Download as PDF (1'440 KB)
The official pronouncement of the Multi Screen series!
Patent: Foldable liquid crystal display unit
Patent No.: 4589659, July 20th 1984
Inventor: Gunpei Yokoi, Ichiro Shirai
Download as PDF (1'010 KB)
The Panorama Screen games did follow after the Multi Screen games.
Patent: Multi directional switch
Patent No.: 4687200, August 9th 1985
Inventor: Ichiro Shirai
Download as PDF (539 KB)
Nintendo did invent the cross pad (D-Pad) as well. But it wasn't Gunpei Yokoi, the inventor was Ichiro Shirai.

